自动变道体验过,能自动跑偏还是头一回见,这是转向系统出了问题

在现代汽车上,转向系统是任何车辆都不可或缺的组成部分,其作用是改变汽车的行驶方向和使汽车保持稳定的直线行驶,其好坏直接关系着车辆的操纵稳定性、安全性等整车性能,而汽车转向系统一旦出现有问题,就非常容易造成事故。
陈先生在13年购买的雪铁龙C4L已行驶7万多公里,在19年初发现车辆已经出现转向柱松动的情况。但并没有引起自己的重视,一直到现在情况越来越严重,而且从经过车友会车主们的反馈得知C4L车型都普遍存在转向柱松动的问题。
随后得知东风雪铁龙厂家有将此问题在原本的保质期上延长至6年,但作为车主的陈先生却没有收到任何关于延保的通知,导致无法享受到应有的质保权益。而有关的经销商也已经关门歇业,所以找到了汽车投诉网平台帮助解决。
专员接到该投诉后迅速将情况反应至东风雪铁龙厂家,有关人员翌日就回复平台,称会尽快协调相关的经销商为陈先生核实并处理,也会持续跟进事情进展。在发起投诉后的第三天,汽车投诉网也同样接到了陈先生的事件反馈,经过平台和厂家的共同努力,他的事情已经得到顺利解决,经销商邀约了进站检查或者更换新的转向轴。对处理结果也感到满意,表示了感谢。
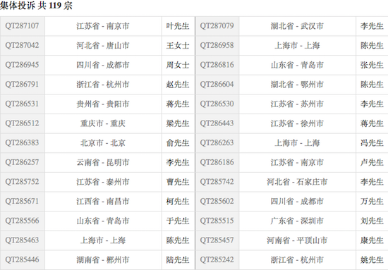
而我们查询后也发现雪铁龙C4L车型转向柱问题也同时是一个集体投诉,都声称方向盘存在间隙,转向时上下松动,对存在于刚刚过保没多久的车辆。这就说明车子本身是确实存在这个缺陷,且是需要经过几千公里驾驶磨合后问题才会显现,是本身制造工艺上的问题还是装配时的问题,这就需要东风雪铁龙方面好好研究一下,在之后各车型出厂加强品控。
图片
结语:日常驾驶汽车过程中遇到转向系统的常见故障有:转向异响、转向机漏油、转向沉重等。而我们在遇到这些故障时只有分清故障现象才能够更加利于诊断和排除,对于上述一些故障现象我们也给一点维修建议。
图片
转向异响:有异响一般是机械部分,例如主销与衬套损伤,检修时可以左右打方向,观察异响部位,在针对拆检。
转向机漏油:可对于转向机上盖、侧端盖和转向轴拐臂连接处的密封圈与油封进行更换。
助力泵漏油:对助力泵驱动轴端和后端盖的密封圈、油封进行更换检修。